Consignes de sécurité
Commencer par couper le courant avec de procéder au montage ou ajustage de l’installation et s’assurer que personne ne puisse le remettre par accident.

Attacher une attention toute particulière lors de tous travaux sur les tendeurs de chaîne en présence d’une roue dentée ou d’une poulie à chaîne. La roue dentée ou la poulie sont montées sur des roulements à billes et qui n’arrêtent pas la chaîne ou la courroie lorsqu’on appuie sur le tendeur.
La garantie du fabricant cesse lorsque des modifications ont été apportées au tendeur de chaîne ou de courroie ou quand celui-ci a été ouvert.
Ne pas essayer d’ouvrir le boîtier. La construction est sous forte pression de ressort. La projection brusque d’une pièce peut provoquer des accidents.

Indications générales
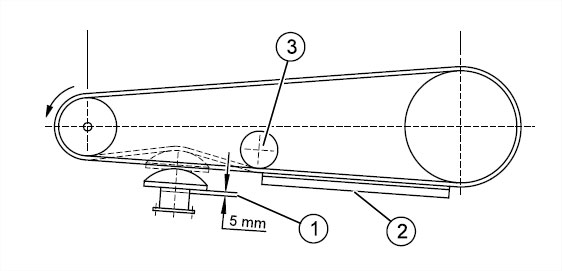
Les tendeurs de chaîne du type TENDEUR MINI, SPANN-BOY et SPANN-BOX travaillent de manière élastique/librement. Pour éviter une friction en surface accrue et une usure plus rapide du profil de glissement, il a lieu d’autoriser au tendeur de chaîne une course de ressort minimum (1) de 5 mm. Si le tendeur de chaîne est monté en dessous de la chaîne, il convient de prendre en considération que le poids de la chaîne augmente la charge du tendeur. Dans le cas d’un écart important entre les axes, une glissière de soutien (2) permet de réduire la charge de la chaîne. Dans la mesure du possible, il y a lieu de monter le tendeur de la chaîne immédiatement derrière la roue d’entraînement. La chaîne à tendre quittant le pignon doit être aussi courte que possible et peut être maintenue au moyen d’un patin ou d’un rouleau d’appui (3).

Indicateur visuel
Les tendeurs de chaîne et de courroie SPANN-BOX sont équipés d’une échelle de contrôle, qui permet au mécanicien chargé de la maintenance de contrôler en un coup d’œil la tension de la chaîne.
Vert: la tension de la chaîne se trouve dans la zone de travail optimale.
Jaune: la tension de la chaîne est faible, mais encore suffisante.
Rouge: la tension de la chaîne est insuffisante pour garantir un fonctionnement correct et sûr de la chaîne. Réajuster le tendeur de chaîne. Lorsque toutes les possibilités de réajustement ont été épuisées, il faut raccourcir la chaîne ou la changer.
Tendeur mini
- Patin de glissement
- Cheville d’arrêt
- Nervure de fixation
- Vis de fixation
- Trou pour la cheville d’arrêt
Le TENDEUR MINI est livré bloqué. N’enlever la cheville d’arrêt (2) que lorsque le montage est terminé pour activer le tendeur de la chaîne.
- Positionner le TENDEUR MINI à l’endroit prévu de la machine et définir les points de fixation. Remarque: étant donné la course de tension limitée, l’écart entre les axes pour obtenir un serrage optimum ne doit pas dépasser 200 mm.
- Percer des trous de fixation pour vis M5 et monter le TENDEUR MINI avec deux vis de fixation (4).
- Pour tendre la chaîne, abaisser le profil de glissement (1) et enlever la cheville d’arrêt (2).
- Rapprocher avec précaution le profil de glissement de la chaîne.
- Conserver la cheville pour pouvoir bloquer le tendeur de chaîne à l’occasion des travaux de maintenance ultérieurs.
Danger d’accident !
Ne pas conserver la cheville d’arrêt dans le trou (5) où elle se trouvait auparavant. Elle risque de s’en échapper pendant la marche et de pénétrer dans des parties de la machine en rotation.
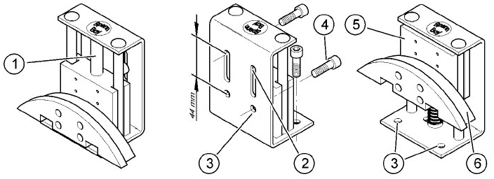
SPANN-BOY

- Pièce d’écartement
- Trous en fente de fixation
- Trous de fixation
- Vis de fixation
- Noyau de tension
- Patin de glissement
Le SPANN-BOY est livré à bloqué. N’enlever la pièce d’écartement (1) qu’au moment de la mise en service et activer le tendeur de chaîne.
Positionner le SPANN-BOY à l’endroit prévu de la machine et définir les points de fixation. Remarque: Le montage à la partie supérieure d’un trou en fente (2) permet un ajustement ultérieur de 44 mm. D’autres trous de fixation se trouvent derrière le noyau de tension et sur la nervure de fixation inférieure (3) (excepté le SPANN-BOY comme tendeur de courroie et le SPANN-BOY avec roue dentée).
Percer des trous de fixation pour vis M6 et monter le SPANN-BOY avec deux vis de fixation (4).
Abaisser le profil de glissement (6) avec précaution et enlever la pièce d’écartement avant la mise en service.
Conserver la pièce d’écartement pour pouvoir fixer le noyau de tension (5) lors des travaux d’entretien ultérieurs.
Risque de blessure par les pièces se trouvant sous pression de ressort. Ne pas essayer d’enlever le mandrin de serrage. Les pièces sont sous pression de ressort et peuvent être éjectées du boîtier de manière incontrôlée
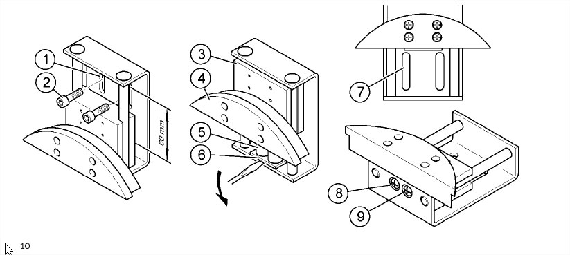
SPANN-BOY TS

- Trous oblongs de fixation
- Vis de fixation
- Noyau de tension
- Patin de glissement
- Bloc-ressort
- Desserrage du bloc-ressort
- Trous en fente de fixation
- Trou pour vis d’arrêt
- Vis de verrouillag
Le SPANN-BOY TS est livré bloqué. Ce n’est qu’une fois le montage terminé que les ressorts sont débloqués les uns après les autres selon la tension désirée.
Aménager les trous de fixation pour vis M6 et monter SPANN-BOY TS avec deux vis de fixation (2). Remarque: Un montage à l’extrémité supérieure des trous oblongs (1) permet un réglage ultérieur d’environ 60 mm.
Maintenir le profil de glissement en position inférieure et détendre les ressorts à l’aide des vis de blocage (9) en fonction du besoin:
– ressort gauche: force de tension légère
– ressort droit: force de tension élevée
– les deux ressorts: force de tension très élevée.
Rapprocher avec précaution le profil de glissement de la chaîne.
Si le SPANN-BOY TS doit être monté sur les trous de fixation ovales inférieurs:
Pousser vers le haut le noyau de tension (3) sur le profil de glissement (4).
Soulever le bloc-ressort (5) de la patte de fixation (6) à l’aide d’un tournevis et le pousser vers le haut dans le noyau de tension.
Monter le SPANN-BOY TS.
Pousser le noyau de tension avec le bloc-ressort vers le bas et l’enfoncer dans les trous de fixation (8) sur la patte de fixation inférieure en pressant fortement.
Attention au risque d’accident en raison des pièces sous tension de ressort!
Ne pas desserrer les vis de blocage sur un bloc-ressort démonté. Les composants sont sous pression de ressort et peuvent être projetés violemment du boîtier.
Risque d’accident dans le cas d’un blocage incomplet!
Quand vous procédez à des travaux de maintenance et désirez ajuster le SPANN-BOY TS, presser le noyau de tension vers le bas sur le profil de glissement et serrer les deux vis de blocage (9) jusqu’à la butée pour éviter que le profil de glissement ne saute vers le haut et ne vous écrase les doigts.
SPANN-BOX Taille O
- Patin de glissement
- Indicateur visuel
- Noyau de tension
- Cheville d’arrêt
- Trou pour la cheville d’arrêt
- Vis de fixation
- Trous de fixation
Le SPANN-BOX de la taille O est livré débloqué. Avant de procéder au montage, le noyau de tension doit être enfoncé dans le boîtier et bloqué.
Enlever la cheville d’arrêt (4) du fond du boîtier.
Enfoncer le noyau de tension (3) jusqu’à la butée et bloquer la cheville d’arrêt (4) dans le trou (5).
Positionner le SPANN-BOX à l’endroit prévu de la machine et définir l’emplacement des trous de fixation.
Percer les trous de fixation pour vis M6 et monter le SPANN-BOX avec deux vis de fixation (6).
Avant de mettre en service appuyer légèrement sur le profil de glissement (1) et enlever la cheville d’arrêt de son trou.
Conserver la cheville d’arrêt (4) en la plaçant sous le boîtier.
Remarque: les trous se trouvant dans le boîtier permettent de réajuster le SPANN-BOX tout au plus de 25 mm.
Risque d’accident dû aux pièces se trouvant sous pression de ressort. Ne pas essayer d’ouvrir le boîtier! Les pièces sont sous pression de ressort et peuvent être éjectées brusquement du boîtier.
SPANN-BOX Taille 30
- Vis de fixation
- Trou de fixation
- Vis de verrouillage
- Patin de glissement
- Indicateur visuel
- Noyau de tension
- Boîtier
Le SPANN-BOX de la taille 30 est livrée bloqué. Ne desserrer les ressorts des vis de blocage (3) qu’au moment de la mise en service.
Positionner le SPANN-BOX à l’endroit prévu de la machine et définir l’emplacement des trous de fixation. Remarque: utiliser les trous supérieurs (2). Il est alors possible par la suite d’utiliser les trous inférieurs pour réajuster le SPANN-BOX jusqu’à 30 mm.
Percer dans la machine les trous de fixation pour vis M6 (1).
Monter le SPANN-BOX.
Desserrer de trois tours environ la vis (3) se trouvant au milieu des deux autres Le second et le troisième ressort ne doivent être desserrés qu’en cas de besoin.
Remarque: pour desserrer le troisième ressort, il est éventuellement nécessaire d’enfoncer entièrement le noyau de tension dans le boîtier. Il est nécessaire d’enfoncer le noyau de tension (6) en totalité dans le boîtier (7) et de le bloquer avec les trois vis d’arrêt (3) avant de procéder aux travaux de maintenance (lors du changement de chaîne par ex.) ou à un réajustement.
Risque d’accident en raison du noyau de tension sous pression de ressort!
Serrer les vis (3) à fond pour éviter que le noyau de tension ne soit éjecté accidentellement du boîtier et cause des blessures.
Risque d’accident dû aux pièces se trouvant sous pression de ressort! Ne pas essayer d’ouvrir le boîtier. Les pièces sont sous forte pression de ressort et peuvent être éjectées brusquement du boîtier.
SPANN-BOX Taille 1 + 2
- Vis de fixation
- Équerre de fixation
- Trou de fixation
- Vis de verrouillage
- Patin de glissement
- Indicateur visuel
- Noyau de tension
Le SPANN-BOX des tailles 1 et 2 est livré bloqué. Ne desserrer les ressorts du noyau de tension (7) se trouvant sur les vis d’arrêt (4) qu’au moment de la mise en service.
Positionner le SPANN-BOX à l’endroit prévu de la machine et définir la position des trous de fixation. Remarque: utiliser la partie supérieure des trous à fente (3) lors du montage avec une équerre de fixation (non compris dans la livraison). Il est alors possible de réajuster sans difficulté le SPANN-BOX jusqu’à 67 mm (taille 1) ou 75 mm (taille 2) en déplaçant ou en tournant l’équerre.
Percer dans la machine des trous de fixation pour vis M8 (taille 1) ou M10 (taille 2).
Positionner avec précision le SPANN-BOX sur la chaîne au moyen du profil de glissement et visser solidement l’unité équerre/SPANN-BOX.
Desserrer de quatre tours environ la vis d’arrêt se trouvant au milieu des deux autres (4). Ne desserrer la seconde et la troisième vis qu’en cas de besoin. Lors des travaux de maintenance (changement de chaîne par exemple) ou d’un réajustement, le noyau de tension (7) doit être enfoncé à fond dans le boîtier et bloqué à l’aide de trois vis d’arrêt (4).
Risque d’accident à cause du noyau de tension sous pression de ressort! Bien serrer les vis à fond (4) pour éviter que le noyau de tension ne soit éjecté du boîtier et provoque des blessures.
Risque d’accident dû aux pièces se trouvant sous pression de ressort! Ne pas essayer d’ouvrir le boîtier! Les pièces sont sous forte pression de ressort et peuvent être brusquement éjectées du boîtier.
